Mounting systems provide further flexibility to the active gripper components for their reach on the part to be handled. Our mounting systems provide 360˚ freedom for active gripper component to get adjusted on the object. These are the components which get more stress during working. Hence are made with top grade Aluminum which undergoes hard anodizing for durability. Categorically there are three different sets of mounting systems as seen on this page. Based on the active gripper component to mount one of them is selected.
This is slender system and does not need any further component to enhance the reach of Active gripper component (ACGC) all direction angle moment is taken care of just two sub components
DAC System: This is set of four components, complex but more sturdy, more flexible in terms of reach and mostly used by us in gripper making.
DAC System:This is very basic system and need to used few components from SAC system to make it all direction adjustable.
Flexible movement in all directions: SAC1: provides Circular angle in +X-X Direction SAC2: Top Part provide (+Y-Y OR +Z-Z rotation) SQC: This is mounted on extrusion and it houses SAC1.
Part No | Weight (gm) | Clamping area(mm) | Material | Bolt Size |
---|---|---|---|---|
SAC-19 | 180 | Ø19 x 25 | AL 6082 | M6 x 16 |
SAC-19H | 220 | Ø19 x 40 | AL 6082 | M6x 22 |
SAC-19 | 180 | Ø19 x 25 | AL 6082 | M6 x 16 |
SAC-16 | 153 | Ø 16 x 25 | AL 6082 | M6 x 12 |
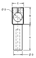
Item No | A (mm) | B (mm) | C (mm) | D (mm) | E (mm) |
---|---|---|---|---|---|
SAC1 | Ø19 | 110 | 25 | Ø19 | 85 |
SAC2 | Ø19 | 110 | 25 | Ø19 | 85 |
SQC | 45 | Ø19 | 25 | - | - |
I-Clamp provides lot of flexibility in terms of reach of ACGC on the part. Its sturdy design ensures perfect grip and long durability
Item No | Weight(gm) | Material | Compatible with |
---|---|---|---|
IC-19 | 89 | AL6082 | For VCA mounting |
IC-22 | 96 | AL6082 | For Sprue picker mounting |
ICL-19 | 190 | AL6082 | For Sprue Picker extension |
ICM-19 | 135 | AL6082 | For VCA extension |
ICS-19 | 55 | AL6082 | |
IC-20 | 93 | AL 6082 | |
IC-20S | 83 | AL6082 |
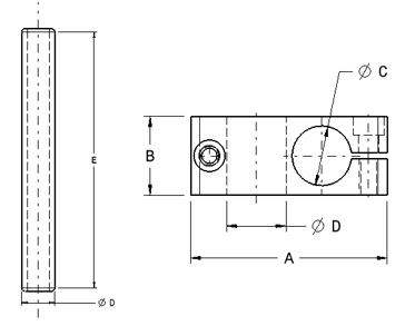
Item no | A | B | C | ØD |
---|---|---|---|---|
IC-19 | 55 | 35 | 26 | 19 |
ICL-19 | 198 | 35 | 26 | 19 |
IC-22 | 55 | 35 | 26 | 22 |
ICS-16 | 35 | 35 | 26 | 20 |
Item No | Weight(gm) | Material | Compatible with |
---|---|---|---|
DAC-19 | HE6085 | 103 | R19, IC-19 |
DAC-20 | HE6085 | 105 | R20,IC-20 |
DAC-16 | HE6085 | 85 | R16,IC-16 |
R-19 | HE6085 | 52 | |
RB-19 | HE6085 | 60 | |
R-16 | HE6085 | 40 |
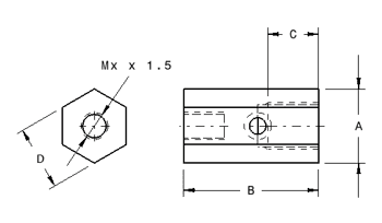
Item No | A (mm) | B (mm) | ØC (mm) | ØD (mm) | ØE (mm) |
---|---|---|---|---|---|
DAC-19 | 70 | 30 | 19 | 19 | |
DAC-20 | 75 | 32 | 20 | 20 | |
R-19 | 19 | 180 | |||
RB-19 | 19 | 220 | |||
R-20 | 20 | 180 | |||
R-16 | 16 | 100 |
Part No | Weight (gm) | Port Size for Suction Pad | Port size for Pneumatic cylinder | Suitable for Suction Pads | Pneumatic Port |
---|---|---|---|---|---|
CVH-01 | 85 | BSP1/4” | BSP 1/8” | SSHT/HDHT-53/43/33/78 | G1/8”-6 |
CVH-02 | 82 | M5 | BSP 1/8” | SDHT SSHT/15/22/10 | BSP 1/8” |
Part No | A | B | C | D | MX x 1.5 |
---|---|---|---|---|---|
CVH-01 | 25.46 | 42 | 12 | 19.25 | BSP 1/8” |
CVH-02 | 22.5 | 30 | 10 | 16.5 | BSP 1/8” |
© Probond Engineering. All Rights Reserved.